一、系統登錄。
?通過訪問統計云聯網直報系統(https://lwzbtr.m.hthotlf.cn/survey/login)
?輸入用戶名和密碼,可選擇CA或者短信方式,點擊登錄。
?
?(1)選擇CA登錄
若選擇CA登錄方式,輸入用戶名和密碼后,系統會檢測本地是否安裝了CA證書,
若已經下載過CA證書,系統會直接進行證書驗證,驗證通過后登錄成功。
若未安裝提示先下載并按安裝CA證書助手。

安裝完證書助手后,可申請證書。注:主賬號和子賬號公用“主賬號”的證書。

系統會檢測本地是否安裝了CA證書,若已經下載過CA證書,系統會直接進行證書驗證,
驗證通過后登錄成功。若未安裝提示先下載并按安裝CA證書助手。


(2)選擇短信登錄
若選擇短信登錄方式,輸入用戶名和密碼后回跳轉到獲取驗證碼的頁面,
點擊獲取驗證碼后將手機收到的6位驗證碼輸入即可登錄。

首次登錄系統或者密碼重置后使用初始密碼登錄系統,調查對象需要修改密碼。

二、數據填報。
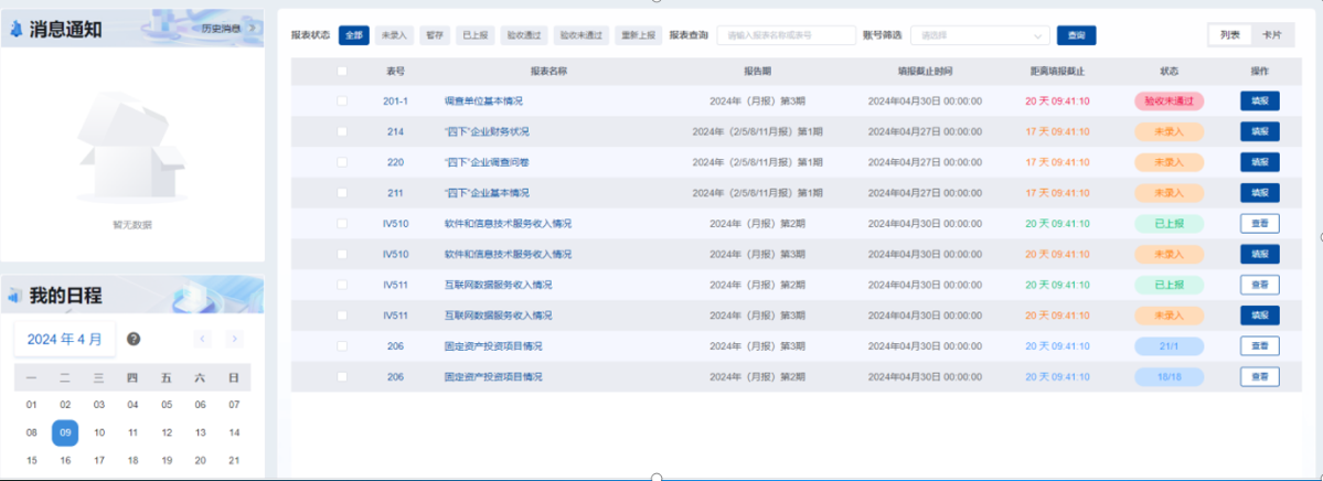
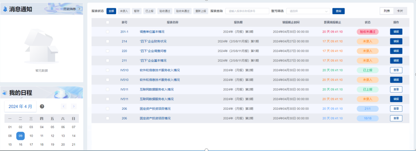
登錄系統后,直報端首頁即可看到當前用戶需要報送的采集表,可通過各種條件進行篩選。

三、數據報送。
點擊填報按鈕后即可進入填報頁面,在該頁面中完成報表數據的填寫、審核和上報。

錄入頁面中,支持填報過程中各類報表規則,例如:自動摘抄同期數,
合計項填報過程自動觸發計算,以及跳轉規則等
在錄入頁面中提供各類填報輔助功能,方便快捷提高填報效率,例如:
? 1.勾選“顯示指標解釋”后,當光標定位到相應的指標上時會彈出相應的指標解釋。
? 2.選擇“凍結至此行”后,會將報表中相應欄目凍結,方便填報。
? 3.勾選“參考同期、上期”后,當光標定位到相應的指標時,會彈出相應的上期、同期、環比等數據。
? 4.點擊“暫存”按鈕,將填報的數據暫存,但是不審核報表內錄入的數據且不上報,為方便下次繼續錄入。
? 5.點擊“導出/導入”按鈕,可下載模板到本地,填寫數據后導入系統。
? 6.點擊“初始化報表”按鈕,若數據還未上報則會將表內填報的數據重置,恢復至初始報表狀態;
? ?若數據已上報,點擊初始化報表,會重新執行取數規則,比如重新讀取同期數。
? 7.點擊“審核”按鈕,可審核當前報表內所錄入的數據是否滿足審核要求,
? ?如數據審核出錯誤則顯示審核錯誤列表,點擊審核錯誤信息可自動定位有問題的指標進行修改。
? 8.點擊“審核并上報”按鈕,系統首先驗證是否存在需處理的審核錯誤、標記錯誤,
? ?當通過審核后即執行報表數據保存到系統。
四、數據查詢。
調查對象上報數據后,可以查詢本期及歷史期別數據,可通過篩選定位,查看數據可導出。

登錄和填報過程中遇到技術問題,可以撥打浙江省統計聯網直報平臺技術支持電話:400-6888-566